
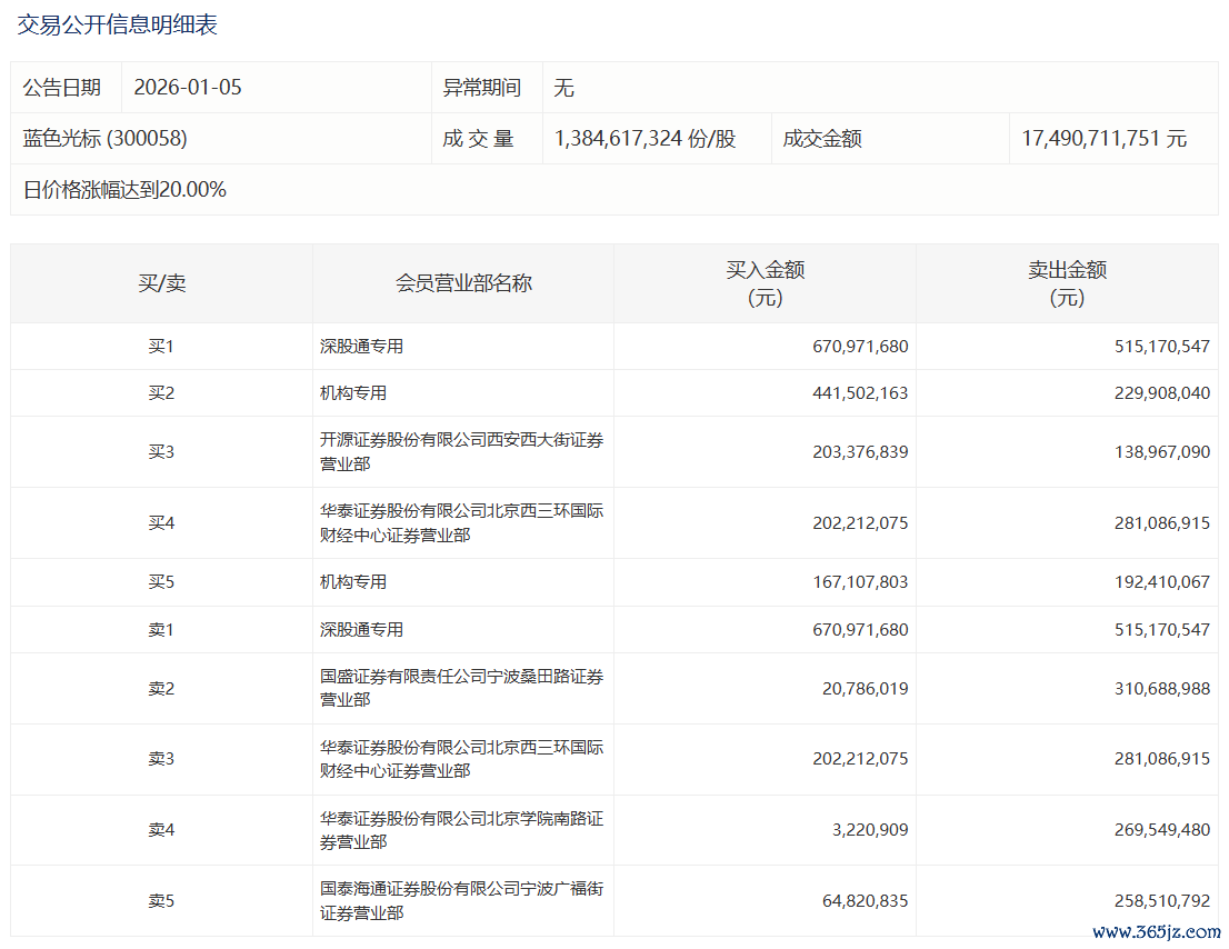
蓝色光标公告,公司股票在连续2个交易日内累计偏离值超过30%,属于股票交易异常波动情形;同时,公司股票价格在连续7个交易日累计偏离超过100%,属于股票交易严重异常波动的情况。公司现阶段AI驱动的相关收入占整体营业收入的比重较小,对公司整体经营情况没有重大影响。此外,公司股票短期涨幅高于同期创业板综指及行业涨幅,累计涨幅严重偏离基本面,存在股价短期快速回落风险。
举报 第一财经广告合作,请点击这里此内容为第一财经原创,著作权归第一财经所有。未经第一财经书面授权,不得以任何方式加以使用,包括转载、摘编、复制或建立镜像。第一财经保留追究侵权者法律责任的权利。如需获得授权请联系第一财经版权部:banquan@yicai.com 相关阅读
蓝色光标今日20%涨停,深股通专用席位买入6.71亿元并卖出5.15亿元蓝色光标今日20%涨停,深股通专用席位买入6.71亿元并卖出5.15亿元
18 01-05 16:36
AI创造全民高收入?“不存钱时代”离我们有多远?马斯克认为人工智能将推动全民高收入并降低存钱的必要性,这一观点基于AI技术对生产力的深刻影响。
130 2025-12-25 11:10
可灵AI全年收入约1.4亿美元,快手继续加大算力投入快手预计2025年集团整体Capex支出(资本性支出)将较去年实现中高双位数的同比增长。
189 2025-11-19 20:47
娃哈哈2025年实现了5亿收入增长,但全年收入并未公开在经销商奖项中,25家“全国优秀经销商”共享1000g金牌与150万元激励。
542 2025-11-18 18:48
AI周报|OpenAI预计年化收入超200亿美元;谷歌构想将数据中心建在太空OpenAI CEO奥尔特曼表示,公司2030年的年化收入预计将达数千亿美元。
117 2025-11-09 08:26 一财最热 点击关闭红腾网提示:文章来自网络,不代表本站观点。